ГОСТ 24132-80: ДЕТАЛІ КРІПЛЕННЯ ТРУБОПРОВОДІВ. СКОБИ
Креслення:

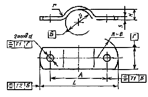
Справжній стандарт поширюється на скоби діаметром D від 6 до 430 мм. Нижче подано креслення та технічні розміри згідно з ГОСТ 24132-80.
Приклад умовного позначення:
Скоба D = 25 мм зі сталі марки 08 кп з покриттям Ц9.хр позначається як:
Скоба 25-08кп-Ц9.хр ГОСТ 24132-80
Коротко про стандарт ГОСТ 24132-80
- Діапазон діаметрів: від 6 мм до 430 мм
- Матеріал: сталь (наприклад, 08кп, 20, 3сп тощо)
- Можливі види покриття: Ц9.хр, Ц9, або без покриття
- Скоби використовуються для кріплення труб в будівництві та промисловості
Замовити скоби за ГОСТ 24132-80
Компанія КВАДО виробляє та постачає скоби для кріплення трубопроводів згідно з ГОСТ 24132-80. Гарантуємо якість, відповідність стандарту, швидке виготовлення та доставку по Україні.
Зв’яжіться з нами для замовлення або консультації:
Сфера застосування
Скоби за ГОСТ 24132-80 використовуються для надійного кріплення трубопроводів у будівництві, промисловості, ЖКГ, монтажі вентиляційних та санітарних систем. Вони забезпечують стабільну фіксацію металевих та пластикових труб діаметром від 6 до 430 мм.
Матеріали виготовлення
Виробляються з вуглецевої сталі (08кп, 20, 3сп), можливе цинкування або фарбування за бажанням замовника. Покриття (наприклад, Ц9.хр) захищає скобу від корозії та подовжує термін служби.
Переваги скоб від КВАДО
- Повна відповідність ГОСТ 24132-80
- Міцність і довговічність
- Можливість виготовлення під замовлення
- Оптові ціни та знижки
- Швидка доставка по всій Україні
Як замовити?
Компанія КВАДО виробляє скоби на власному виробництві у відповідності до стандартів. Щоб замовити, залиште заявку на сайті або зв'яжіться з менеджером.